Pondasi Rumah Strauss – Pondasi adalah salah satu elemen paling penting dalam pembangunan rumah. Pondasi yang kuat adalah kunci untuk memastikan kestabilan dan keamanan bangunan Anda.
Salah satu jenis pondasi yang telah terbukti kuat dan tahan lama adalah pondasi rumah Strauss. Artikel ini akan membahas pondasi rumah Strauss dengan detail, termasuk jenis-jenisnya, kelebihan, dan langkah-langkah konstruksi yang diperlukan.
Pondasi Rumah Strauss: Dasar Kuat untuk Bangunan Anda
Apa Itu Pondasi Rumah Strauss?
Pondasi rumah Strauss adalah tipe pondasi yang digunakan dalam konstruksi bangunan, terutama rumah tinggal. Pondasi ini dikenal dengan kekuatan dan daya tahan yang luar biasa, menjadikannya pilihan yang populer di berbagai lokasi dan kondisi tanah.
Pondasi Strauss memiliki beberapa karakteristik utama yang membedakannya dari jenis pondasi lainnya.
Jenis-Jenis Pondasi Rumah Strauss
Ada beberapa jenis pondasi rumah Strauss yang dapat dipilih tergantung pada kebutuhan dan kondisi tanah. Berikut adalah beberapa tipe pondasi Strauss yang umum:
- Pondasi Strauss Beton Bertulang
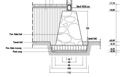
Pondasi Strauss beton bertulang adalah yang paling umum digunakan. Ini terdiri dari balok beton bertulang horizontal yang ditempatkan di atas permukaan tanah dengan kolom beton bertulang yang turun hingga ke kedalaman tertentu. Pondasi ini kuat dan tahan lama, cocok untuk berbagai jenis bangunan.
- Pondasi Strauss Batu Bata
Pondasi Strauss batu bata menggunakan batu bata sebagai bahan utama. Batu bata dipasang dengan baik dan kuat untuk membentuk pondasi yang kokoh. Tipe ini sering digunakan di daerah dengan pasokan batu bata yang melimpah.
- Pondasi Strauss Batu Alam
Pondasi Strauss batu alam menggunakan potongan-potongan batu alam yang dipilih dengan cermat dan disusun secara hati-hati. Ini memberikan pondasi yang tahan lama dan menambah unsur estetika pada bangunan.
- Pondasi Strauss Tiang Pancang
Pondasi Strauss tiang pancang menggunakan tiang pancang yang dikalungkan bersama untuk membentuk dasar bangunan. Tipe ini cocok untuk tanah dengan kondisi lumpur atau tanah yang lemah.
- Pondasi Strauss Campuran
Pondasi Strauss campuran adalah kombinasi dari berbagai jenis bahan seperti beton, batu bata, dan batu alam. Ini dirancang khusus sesuai dengan karakteristik tanah dan kebutuhan bangunan.
Kelebihan Pondasi Rumah Strauss
Pondasi rumah Strauss memiliki sejumlah kelebihan yang membuatnya menjadi pilihan yang menarik dalam konstruksi bangunan. Beberapa kelebihan utamanya meliputi:
- Kekuatan dan Stabilitas
Pondasi Strauss dikenal dengan kekuatan dan stabilitasnya. Mampu menahan beban bangunan dengan baik, bahkan di tanah yang tidak stabil atau daerah dengan gempa bumi.
- Tahan Lama
Pondasi Strauss memiliki umur pakai yang panjang. Dengan perawatan yang baik, mereka dapat bertahan selama puluhan tahun tanpa masalah serius.
- Cocok untuk Berbagai Tanah
Pondasi Strauss dapat disesuaikan dengan berbagai jenis tanah, termasuk tanah lempung, pasir, dan tanah berbatu. Ini membuatnya cocok untuk banyak lokasi geografis.
- Ketahanan Terhadap Cuaca
Pondasi Strauss tahan terhadap cuaca ekstrem, termasuk hujan deras, suhu ekstrem, dan kondisi lingkungan yang keras.
- Pilihan Material yang Fleksibel
Anda dapat memilih berbagai jenis material untuk pondasi Strauss, termasuk beton, batu bata, dan batu alam. Ini memberikan fleksibilitas dalam desain dan biaya konstruksi.
Konstruksi Pondasi Strauss
Langkah-langkah konstruksi pondasi Strauss adalah kunci untuk memastikan pondasi yang kuat dan tahan lama. Berikut adalah proses umum dalam membangun pondasi Strauss:
- Persiapan Lokasi
Langkah pertama dalam konstruksi pondasi adalah persiapan lokasi. Ini termasuk pembersihan dan penggalian tanah hingga kedalaman yang sesuai dengan jenis pondasi yang akan dibangun.
- Penggalian Lubang
Setelah lokasi persiapan selesai, lubang digali sesuai dengan dimensi pondasi yang direncanakan. Ini adalah langkah kunci karena keakuratan dan kedalaman lubang akan mempengaruhi stabilitas pondasi.
- Pemasangan Bekisting
Bekisting, yang dapat terbuat dari kayu atau logam, dipasang di sekitar lubang. Ini berfungsi sebagai cetakan untuk beton yang akan dituangkan.
- Pemasangan Armatur
Armatur beton bertulang ditempatkan di dalam bekisting untuk memberikan kekuatan tambahan pada pondasi. Ini termasuk penggunaan baja tulangan yang tepat sesuai dengan perhitungan struktural.
- Pengecoran Beton
Setelah bekisting dan armatur terpasang dengan benar, beton dicor di dalam bekisting. Beton harus dicampur dengan cermat dan dituangkan dengan hati-hati untuk menghindari gelembung udara dan retak.
- Perawatan dan Pengeringan
Setelah beton dicor, perawatan khusus diberikan untuk mencegah retak dan memastikan pengeringan yang merata. Ini melibatkan penyiraman dan perlindungan dari sinar matahari langsung.
- Penyelesaian Pondasi
Setelah pondasi benar-benar kering dan kuat, pondasi dapat diakhiri sesuai dengan kebutuhan. Ini dapat mencakup pemasangan dinding pondasi dan finishing permukaan sesuai dengan desain bangunan.
Perawatan dan Pemeliharaan
Setelah pondasi rumah Strauss selesai, perawatan dan pemeliharaan teratur sangat penting untuk memastikan kelangsungan hidupnya. Beberapa langkah perawatan yang diperlukan termasuk:
Pengecekan Berkala: Pondasi harus secara teratur diperiksa untuk tanda-tanda kerusakan atau retak. Jika ada kerusakan, tindakan perbaikan harus segera diambil.
Perawatan Drainase: Pastikan sistem drainase di sekitar pondasi berfungsi dengan baik. Drainase yang buruk dapat menyebabkan masalah seperti erosi tanah atau genangan air.
Pemeliharaan Bekisting: Jika bekisting digunakan dalam konstruksi pondasi, pastikan itu dalam kondisi baik. Bekisting yang rusak atau korosi perlu diganti.
Pencegahan Retak: Tindakan pencegahan harus diambil untuk mencegah retak pada pondasi. Ini termasuk penggunaan perlindungan termal saat mencor beton dalam suhu ekstrem.
Pondasi rumah Strauss adalah dasar yang kuat untuk bangunan Anda. Dengan kekuatan dan daya tahan yang luar biasa, pondasi ini memberikan perlindungan terhadap berbagai ancaman, termasuk gempa bumi dan cuaca ekstrem.
Dengan perawatan yang tepat, pondasi rumah Strauss dapat bertahan selama bertahun-tahun, menjadikannya investasi yang sangat berharga dalam konstruksi bangunan Anda.
Sebelum memulai konstruksi, pertimbangkan dengan seksama jenis pondasi yang sesuai dengan kebutuhan dan lokasi Anda, dan pastikan Anda bekerja dengan kontraktor yang berkualitas untuk memastikan pondasi dibangun dengan benar.
Keunggulan Pondasi Rumah Strauss
Pondasi rumah Strauss adalah pilihan yang sangat baik dalam pembangunan rumah karena memiliki sejumlah keunggulan yang membuatnya unggul dalam berbagai aspek. Berikut adalah beberapa keunggulan penting dari pondasi rumah Strauss:
- Daya Tahan Terhadap Beban Berat
Pondasi rumah Strauss dikenal akan kemampuannya menahan beban berat dengan sangat baik. Ini membuatnya ideal untuk rumah-rumah dengan konstruksi tinggi, terutama pada bangunan bertingkat.
- Ketahanan Terhadap Gempa Bumi
Indonesia adalah salah satu negara dengan risiko gempa bumi yang tinggi. Pondasi rumah Strauss memiliki ketahanan yang sangat baik terhadap gempa bumi. Mereka mampu menghadapi getaran tanah dan melindungi struktur rumah dari kerusakan serius.
- Perlindungan Terhadap Kerusakan Akibat Tanah Lempung
Pondasi Strauss juga sangat efektif dalam melindungi rumah dari kerusakan akibat tanah lempung. Tanah lempung cenderung berkontraksi dan mengembang tergantung pada kandungan airnya. Pondasi ini mencegah perubahan signifikan dalam struktur tanah, menjaga rumah tetap stabil.
- Tahan Lama dan Awet
Pondasi rumah Strauss, terutama yang terbuat dari beton bertulang, dikenal sangat tahan lama. Mereka dapat bertahan selama beberapa dekade jika dirawat dengan baik. Ini berarti Anda tidak perlu khawatir tentang penggantian pondasi dalam waktu yang lama.
- Mengurangi Risiko Retak Pada Struktur
Pondasi Strauss, dengan perawatan yang benar, membantu mengurangi risiko retak pada dinding dan struktur bangunan. Ini menjaga tampilan dan kekuatan bangunan Anda.
- Cocok untuk Berbagai Jenis Tanah
Indonesia memiliki beragam jenis tanah, mulai dari tanah lempung hingga tanah berbatu. Pondasi Strauss dapat disesuaikan dengan berbagai jenis tanah, menjadikannya pilihan yang fleksibel.
- Tidak Memerlukan Perawatan Rutin yang Intensif
Pondasi Strauss tidak memerlukan perawatan rutin yang intensif. Anda hanya perlu memeriksanya secara berkala untuk memastikan tidak ada kerusakan atau masalah lainnya yang memerlukan perbaikan.
- Pengurangan Biaya Jangka Panjang
Meskipun biaya awal pembangunan pondasi Strauss mungkin lebih tinggi dibandingkan dengan pondasi lain, namun ini adalah investasi jangka panjang. Anda akan menghemat uang dalam jangka panjang karena Anda tidak perlu mengganti atau memperbaiki pondasi dengan frekuensi yang tinggi.
- Menambah Nilai Properti Anda
Pondasi Strauss meningkatkan nilai properti Anda. Bangunan dengan pondasi yang kuat dan tahan lama menjadi daya tarik bagi calon pembeli atau investor, dan ini dapat membantu meningkatkan nilai jual properti Anda.
- Tampilan yang Estetis
Pondasi Strauss juga bisa dirancang dengan elemen estetis. Anda dapat memilih finishing atau ornamen yang sesuai dengan gaya arsitektur rumah Anda untuk tampilan yang lebih menarik.
- Kenyamanan Tinggal
Pondasi yang kuat membuat rumah lebih stabil dan aman. Ini mengurangi risiko masalah struktural yang dapat memengaruhi kenyamanan tinggal Anda.
Dengan keunggulan-keunggulan yang mencakup ketahanan terhadap beban berat, gempa bumi, tanah lempung, dan ketahanan yang luar biasa, pondasi ini memberikan perlindungan terhadap berbagai risiko dan kondisi lingkungan.
Selain itu, mereka memiliki umur pakai yang panjang, menjadikannya investasi yang sangat berharga. Jangan ragu untuk berkonsultasi dengan arsitek atau insinyur sipil berpengalaman dalam memilih dan merancang pondasi Strauss yang sesuai dengan kebutuhan dan lokasi properti Anda.
Dengan pondasi yang kuat, Anda dapat membangun rumah yang kokoh dan tahan lama, memberikan Anda ketenangan pikiran dan kenyamanan tinggal yang tak ternilai harganya.
Rizan Aji Anggara adalah seorang arsitek yang bekerja di Dinaka Struktur, sebuah firma yang dikenal dalam bidang desain struktur bangunan. Di Dinaka Struktur, Rizan berperan penting dalam memastikan setiap proyek memenuhi standar keselamatan dan kualitas yang tinggi










